Making Protective Enclosures for Books and Paper Artifacts – Canadian Conservation Institute (CCI) Notes 11/1
(PDF Version, 874 KB)
CCI Note 11/1 is part of CCI Notes Series 11 (Paper and Books)
Introduction
Books and paper artifacts can be stored in acid-free enclosures to protect them from dust and from damage during handling. Because most papers and boards are acidic and therefore destructive, enclosures for artifacts should be made from acid-free materials. The term "acid-free" is applied to products with a neutral pH and to alkaline-buffered products. Both are acceptable for storing books and archival materials, but buffering offers additional protection against acids over the long term. Acid-free boards and paper products can be made either of 100% rag (cotton) or of highly purified chemical wood pulp. Although the 100% rag is preferable, both are acceptable.
Acid-free envelopes and boxes in varying sizes are available commercially. However, it is often more appropriate to use readily available materials to construct simple, custom-designed enclosures for specific artifacts. The following three types of enclosures are practical for paper artifacts:
- slip-cases for books
- boxes for archival material, books, and matted works of art on paper
- portfolios for small pamphlets, booklets, documents, manuscripts, and unmatted works of art on paper
Examine each artifact before deciding which type of enclosure is best. Books in good physical condition can be stored in a slip-case; fragile or badly damaged books are more suitably stored in a box; and individual archival documents, manuscripts, and unmatted works of art are best stored in a portfolio.
Containers such as these provide protection by isolating artifacts from contact with agents of deterioration. Conservation treatment may still be required for some objects. In these cases, please consult staff of the Works on Paper Section at the Canadian Conservation Institute for advice.
Note: Certain types of photographic materials are sensitive to alkalinity and should, therefore, be stored in acid-free, unbuffered (neutral pH) enclosures.
Equipment and Materials
- metal ruler
- sharp knife
- 2-ply or 4-ply acid-free matboard
- sturdy, acid-free paper such as Permalife (80 pound weight or 60 g/m2)
- 4 cm gummed linen tape (acid-free)
- poly(vinyl acetate) adhesive (PVA) or double-sided tape (3M #415)
General Instructions
Each enclosure takes approximately one hour to construct.
Prepare items for storage by removing the following (providing that they do not form part of the artifact):
- all types of plastic, including covers, interleaving, etc.
- envelopes, brown paper bags, loose cardboard backings, and newspaper wrappings
- staples, paper clips, pins, and any other metal attachments
- loose dust and dirt
Measure the artifact. Add 3 mm around all edges and use these dimensions to draw the design for the slip-case, box, or portfolio on matboard or on paper. Cut out the pattern.
When matboard is used, score along the fold lines (shown as dotted lines in Figures 1, 2, and 3) with a sharp knife to make folding easier.
Use gummed linen tape to secure corners and to strengthen folds. If additional strengthening is necessary, use bookbinding cloth or decorative paper to cover the enclosure.
Slip-case
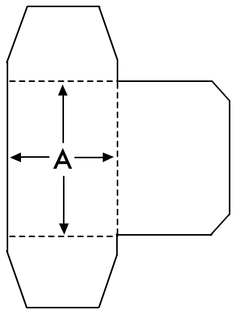
This open-sided box, made of 2-ply or 4-ply acid-free matboard, is designed to hold books that require support and protection (Figures 1a and 1b). The open side leaves the spine visible for identification. The scored extension flaps fold up. The flaps are held together with either adhesive or double-sided tape. The numbers on the flaps in Figures 1a and 1b denote the assembly sequence.

A - dimensions of book plus 3 mm around all edges
B - thickness of book plus 3 mm on end
C - board scored to half its thickness

Box
This type of box is for storing archival documents, matted works of art on paper, and books. Depending on the size required, boxes are made of 2-ply or 4-ply acid-free matboard (Figure 2).

Figure 2. Construction of box:
A - bottom of box: dimensions of book plus 3 mm around all edgesB - top of box: 5 mm larger around all edges than bottom
C - thickness of book plus 3 mm on end
D - corners removed
E - board scored to half its thickness
F - top of box
G - bottom of box
H - gummed linen tape at corners on outside of both top and bottom of box
Portfolio
This enclosure is a more elaborate storage envelope than the slip-case. Portfolios are used to store small pamphlets, booklets, documents, manuscripts, and unmatted works of art. It consists of an acid-free folded paper envelope (Figure 3a) to contain the artifact, and an outer cover made of two pieces of 4-ply acid-free matboard hinged along the spine (Figure 3b). The two parts are made separately and then are joined together (Figure 3c) with either adhesive (used sparingly around the edges) or with double-sided tape.



A - inner envelope: dimensions of artifact plus 3 mm around all edges
B - outer cover: 3 mm larger around all edges than inner envelope
C - space allowed for thickness of matboard
D - gummed linen tape or bookbinding cloth
E - attach envelope to cover with either adhesive (used sparingly around edges) or with double-sided tape
Materials and Suppliers
Matboard:
- 2-ply or 4-ply acid-free board is available from any good art supplier.
Tape:
- Strong, gummed, acid-free linen tape and 3M #415 double-sided tape are available from suppliers of archival storage and conservation materials.
Adhesive:
- Various types of adhesives are available from hardware stores and from suppliers of conservation materials. Examples include Lepage's Bondfast, Weldbond, C M Bond, Elmer's Glue-All, and Jade 403.
Paper:
Permalife acid-free paper, 60 g/m2 (80 lb) "olde white".
- University Products of Canada Division of B.F.B. Sales Ltd
6535 Millcreek Drive, Unit #8
Mississauga, Ontario
L5N 2M2
telephone: 416-858-7888
toll free: 1-800-667-2632
fax: 416-858-8586 - Woolfitt's Art Enterprises Inc.
390 Dupont Street
Toronto, Ontario
M5R 1V9
telephone: 416-922-0933
fax: 416-922-3017
or
Calgary, Alberta
telephone: 403-278-0565
fax: 403-278-2050 - TALAS
568 Broadway
New York, NY 10012
U.S.A.
telephone: 212-219-0770
fax: 212-219-0735 - Carr McLean
461 Horner Avenue
Toronto, Ontario
M8W 4X2
telephone: 416-252-3371
fax: 416-252-9203
or
2273 Bourgoin
St. Laurent, Quebec
H4R 1M8
telephone: 514-645-4790
Further Reading
- Brown, Margaret R. Boxes for the Protection of Rare Books: Their Design and Construction. Washington, DC: Library of Congress, .
Copies are also available in French.
Texte également publié en version française.
© Canadian Heritage,
Cat. Nº NM95-57/11-1-1988E
ISSN 0714-6221