Manual of Drill and Ceremonial | Chapter 3 Squad drill at the halt without arms
A-DH-201-000/PT-000
How squad members should move in a drill on the march without arms. Diagrams show correct positions, movements and timing.
- Fundamentals 3-1
- Pace length and cadences 3-1
- Words of command 3-2
- Marching and halting in quick time 3-5
- Marching and halting in double time 3-7
- Marching and halting in slow time 3-8
- Stepping out and stepping short 3-9
- Mark time, forward and halt in slow time 3-10
- Mark time, forward and halt in quick time 3-11
- Wheels 3-12
- Change step on the march 3-15
- Change step when marking time 3-16
- Form hollow square 3-16
- Salute on the march without arms 3-18
- Paying unit compliments with a squad on the march 3-19
- Turns and inclines on the march in slow time 3-20
- Turns and inclines on the march in quick time 3-22
- About turn on the march in slow time 3-24
- About turn on the march in quick time 3-25
- Change to quick time from slow time 3-26
- Change to double time from quick time 3-26
- Change to quick time from double time 3-26
- Change to slow time from quick time 3-26
- Change direction by forming from the halt 3-24
- Change direction by forming on the march 3-29
- Form squad in line from the halt 3-29
- Form squad in line on the march 3-30
- Squad in threes forming single file from the halt 3-32
- Squad in threes forming single file on the march 3-32
- Squad in single file reforming threes from the halt 3-32
- Squad in single file reforming threes on the march 3-33
- Squad in line forming single file from the halt 3-33
- Squad in line forming single file on the march 3-33
- Squad in single file reforming line from the halt 3-34
- Squad in single file reforming line on the march 3-34
- Open order on the march in slow time 3-34
- Close order on the march in slow time 3-35
- Figure 3-1 Advance/Retire and Directing Flanks 3-4
- Figure 3-2 Marching in Quick Time 3-5
- Figure 3-3 Halting in Quick Time 3-6
- Figure 3-4 Marching in Double Time 3-7
- Figure 3-5 Marching in Slow Time 3-8
- Figure 3-6 Halting in Slow Time 3-9
- Figure 3-7 Marking Time in Slow Time 3-10
- Figure 3-8 Marking Time in Quick Time 3-11
- Figure 3-9 Wheeling 3-14
- Figure 3-10 Change Step on the March in Quick Time 3-15
- Figure 3-11 Forming Hollow Square 3-17
- Figure 3-12 Saluting on the March without Arms 3-18
- Figure 3-13 Eyes Right on the March without Arms 3-19
- Figure 3-14 Turns in Slow Time 3-20
- Figure 3-15 Turns in Quick Time 3-22
- Figure 3-16 About Turn in Slow Time 3-24
- Figure 3-17 About Turn in Quick Time 3-25
- Figure 3-18 Forming from the Halt 3-28
- Figure 3-19 Forming Squad from the Halt 3-31
- Figure 3-20 Squad in Threes Forming Single File 3-32
- Figure 3-21 Squad in Line Forming Single File 3-33
- Figure 3-22 Squad in Single File Reforming Line from the Halt 3-34
FUNDAMENTALS
- The Canadian Armed Forces (CAF) march and manoeuvre on foot in quick, slow and double time at the cadences and pace lengths described in paragraphs 5 to 8.
- The quick march can be maintained for long periods of time and is the standard for routine duty.
- The slow march is derived from the normal cadence used by former soldiers, who had to manoeuvre over uneven battlefields, and from formal parade steps. The slow march is now used only on ceremonial occasions and its style has evolved slightly to emphasize dignity and stateliness.
- Double time is used to move troops rapidly from one point to another.
PACE LENGTH AND CADENCES
- The standard lengths of pace are:
- quick and slow time – 75 cm;
- stepping out in quick and slow time – 85 cm;
- stepping short in quick time and slow time – 55 cm;
- double time – 1 m;
- half pace in quick time (used for marching forward and back three paces or less, see Chapter 2, paragraphs 69 and 70) – 35 cm; and
- side pace – 25 cm.
- When marching the cadence is:
- in quick time, 120 paces per minute;
- in slow time, 60 paces per minute;
- in double time, 180 paces per minute;
- for extended funeral processions, 80 paces per minute (a faster slow march).
- During recruit training, the cadence in quick time may be increased to 140 paces per minute to encourage agility and alertness.
- All units shall practice and be prepared to march and manoeuvre with other elements of the CAF at the standard cadences. However, two other traditional quick march cadences may be ordered by parade commanders of units parading alone or with others units sharing these customs:
- for foot guards regiments on their own parades, 116 paces per minute.
- for Scottish/Highland regiments on their own parades, 110 paces per minute; and
- for light infantry (less Princess Patricia’s Canadian Light Infantry, which drills as a line regiment) and rifle regiments, which have traditions of maintaining special agility and alertness on the battlefield, 140 paces per minute on their own parades;
WORDS OF COMMAND
- Except for certain commands used in sentry drill, all commands to commence marching are given when personnel are at the position of attention.
- On the march, executive commands are given as the foot, specified in the following list, is forward and on the ground, unless otherwise directed:
Word of Command | Foot |
---|---|
HALT (except when marching in slow time, when the command will be given “on the right foot”) | left |
STEP OUT, or STEP SHORT | left |
CHANGE TO QUICK (SLOW or DOUBLE) TIME | right |
MARK TIME (when marching) | right |
FORWARD | left |
ABOUT TURN | right |
RIGHT TURN, RIGHT INCLINE, RIGHT FORM, or ON THE RIGHT FORM SQUAD | left |
LEFT TURN, LEFT INCLINE, LEFT FORM, or ON THE LEFT FORM SQUAD | right |
CHANGE STEP | right |
SALUTE (on the march) | left |
EYES RIGHT, or EYES FRONT | left |
FORM SINGLE FILE (on the march) | right |
REFORM RANKS FROM SINGLE FILE
(on the march) |
right |
Commands for arms movements on the march | left |
- As illustrated in Figure 3-1, unless the directing flank is changed for a special movement, it is always:
- when advancing in line, the right flank;
- when retiring in line, the left flank; and
- when in threes, the original front rank, i.e., when moving to the right flank, the dressing is by the left; when moving to the left flank, the dressing is by the right.

Figure 3-1 Advance/Retire and Directing Flanks
MARCHING AND HALTING IN QUICK TIME

Figure 3-2 Marching in Quick Time
- As illustrated in Figure 3-2, on the command QUICK MARCH BY NUMBERS, SQUAD – ONE, squad members shall:
- shoot the left foot forward one half pace, toe up;
- strike the heel on the ground first and keep the toe pointed directly forward; and
- simultaneously, swing the right arm straight forward and the left arm straight to the rear, waist high.
- On the command SQUAD – TWO, squad members shall:
- continue marching with subsequent paces of standard length;
- bring the legs forward successively in a straight line;
- swing the arms forward successively in a straight line from the shoulder, front to rear, with hands closed as in the position of attention; and
- maintain dressing by the directing flank.
- During basic training, recruits shall be directed to swing arms breast-pocket high in order to build agility. Commanding officers may continue this direction at their discretion.
- On the command QUICK – MARCH, the two movements are combined.

Figure 3-3 Halting in Quick Time
- As illustrated in Figure 3-3, on the command HALT BY NUMBERS, SQUAD – ONE given as the left foot is forward and on the ground, squad members shall:
- check the forward movement by placing the right foot flat on the ground naturally, using the heel as a brake; and
- swing the left arm forward and the right arm to the rear.
- On the command SQUAD – TWO, squad members shall:
- take a half pace with the left foot, placing it flat on the ground; and
- swing the right arm forward and the left to the rear.
- On the command SQUAD – THREE, squad members shall:
- bend the right knee, straightening it in double time; and
- simultaneously, cut the arms to the side as quickly as possible and assume the position of attention.
- On the command SQUAD – HALT, the three movements are combined in quick time. The timing is called as “one, one-two”.
- The command QUICK – MARCH shall always be given to ensure that troops step off in time with a band or another body of troops which is already on the march. It is given on successive right feet of the group which is already moving, i.e., QUICK on the right foot of the marching troops and MARCH on the next right foot.
- The quick march is performed in a brisk and forceful manner. It may be desirable when marching long distances out of the general public eye to permit the troops to relax. If so, the commander may order MARCH AT – EASE. The cadence and pace length remain unchanged, but the troops may otherwise relax. The command to return to normal marching style is MARCH AT ATTEN – TION. Commanders shall not permit troops to march at ease in public parades, ceremonies or when entering or leaving barracks.
MARCHING AND HALTING IN DOUBLE TIME

Figure 3-4 Marching in Double Time
- As illustrated in Figure 3-4, on the command DOUBLE – MARCH, squad members shall:
- step off with the left foot and double on the balls of the feet with easy swinging strides, inclining the body slightly forward;
- raise the feet clear of the ground at each pace;
- bend the arms at the elbow and, with the hands closed, swing the arms naturally from the shoulder; and
- maintain dressing by the directing flank.
- On the command SQUAD – HALT given as the left foot is forward and on the ground, squad members shall:
- complete two forward paces; and
- bring the right foot to the left after the second pace and simultaneously cut the arms to the sides and assume the position of attention.
- It is normal to change into quick time before ordering HALT from double time.
MARCHING AND HALTING IN SLOW TIME

Figure 3-5 Marching in Slow Time
- The slow march develops balance and good carriage and is traditionally part of CAF ceremonial.
- As illustrated in Figure 3-5, on the command SLOW – MARCH, squad members shall:
- maintain the head and body erect and square to the front, arms steady at the sides, the neck firmly in the back of the collar;
- shoot the left foot forward smoothly, with the toes just clear of the ground turned out slightly and pointing downwards. Then, without hesitation, complete a gliding half pace, with the ball of the left foot coming to the ground first. All subsequent paces are of standard length and accomplished in the same manner as above. There is no hesitation between the shooting and gliding motions; and
- the leg that is forward is straightened as much as possible.
- Until balance and coordination are achieved, the slow march may be taught initially by having the squad stroll along at a rate of 60 paces to the minute, arms held behind the back and with the toe pointed down, making sure consecutive movements of the feet are smooth and without hesitation. After further practice, the arms shall be held at the sides until the slow march is perfected.

Figure 3-6 Halting in Slow Time
- As illustrated in Figure 3-6, on the command SQUAD HALT BY NUMBERS, SQUAD – ONE, given as the right foot is forward and on the ground, squad members shall take a further half pace with the left foot in slow time.
- On the command SQUAD – TWO, squad members shall bend the right knee and bring the right foot forward in quick time and assume the position of attention.
- On the command SQUAD – HALT, the two movements are combined. The timing is counted as “one-two”.
- The slow march is tiring over long distances and is therefore only used during the most important parts of ceremonies. During some funerals the circumstances may require marching in slow time for long distances without the normal change to quick time. The commander may then order FUNERAL – PACE. Cadence, pace and body posture remain unchanged, but the troops may change the formal gliding motion of the feet to a more relaxed walking motion. Care must be taken to keep ankles relaxed and avoid pointing toes up. Formal foot motion is resumed on the command ATTEN – TION.
STEPPING OUT AND STEPPING SHORT
- Stepping out is used to increase the distance to be covered without altering the cadence, and stepping short to decrease the distance to be covered without altering the cadence.
- On the command STEP – OUT given as the left foot is forward and on the ground:
- the pace shall be lengthened by about 10 cm on the next left foot; and
- the squad shall continue to step out until the command QUICK – MARCH is ordered.
- On the command QUICK – MARCH given as the left foot is forward and on the ground, the pace will be shortened to the normal length on the next left foot.
- On the command STEP – SHORT given as the left foot is forward and on the ground:
- the pace shall be shortened by about 20 cm on the next left foot; and
- the squad shall continue to step short until the command QUICK – MARCH is ordered.
- On the command QUICK – MARCH given as the left foot is forward and on the ground, the pace will be lengthened to the normal length on the next left foot.
MARK TIME, FORWARD AND HALT IN SLOW TIME

Figure 3-7 Marking Time in Slow Time
- As illustrated in Figure 3-7, marking time is carried out at the same cadence as for marching. Only the legs are moved and the upper portion of the body remains in the position of attention with arms at the side.
- On the command MARK TIME BY NUMBERS, SQUAD – ONE given as the right foot is forward on the ground, squad members shall:
- take a half pace with the left foot, placing the foot flat on the ground naturally; and
- maintaining the same cadence, bring the right foot into the left in a straight leg manner, not scraping the ground, and assume the position of attention.
- On the command SQUAD – TWO, squad members shall:
- bend the left knee so that the thigh is parallel to the ground and the foot at a natural angle;
- place the toe on the ground before the heel as the leg is lowered;
- continue to mark time until the command FOR – WARD or HALT is given; and
- avoid stamping feet.
- On the command MARK – TIME, the two movements are combined.
- The timing is:
- Count: LEFT – IN – LEFT – RIGHT – LEFT
- Foot: LEFT – RIGHT – LEFT – RIGHT – LEFT
- On the command FOR – WARD given as the left foot is on the ground, squad members shall:
- maintaining the same cadence, straighten the right leg and assume the position of attention; and
- shoot the left foot forward in a half pace, with the toe just clear of the ground, and continue marching in slow time.
- On the command SQUAD – HALT given as the left foot is on the ground, squad members shall straighten the right leg in quick time and assume the position of attention.
- The timing for the halt is counted as one in quick time.
- To mark time from the halt the command shall be, SLOW MARK – TIME.
MARK TIME, FORWARD AND HALT IN QUICK TIME

Figure 3-8 Marking Time in Quick Time
- Marking time in quick time is carried out at the same cadence as for marching (Figure 3-8).
- On the command MARK TIME BY NUMBERS, SQUAD – ONE given as the right foot is on the ground, squad members shall:
- take a half pace with the left foot, placing the foot flat on the ground naturally;
- bring the right foot into the left in a straight leg manner, not scraping the ground;
- simultaneously, cut the arms to the sides and assume the position of attention; and
- maintain the same cadence.
- On the command SQUAD – TWO, squad members shall:
- bend the left knee;
- place the toe on the ground before the heel as the leg is lowered; and
- continue to mark time until the command FOR – WARD or HALT is given.
- On the command MARK – TIME, the two movements are combined.
- The timing is:
- Count: LEFT – IN – LEFT – RIGHT – LEFT
- Foot: LEFT – RIGHT – LEFT – RIGHT – LEFT
- On the command FOR – WARD given as the left foot is on the ground, squad members shall:
- straighten the right leg and assume the position of attention;
- shoot the left foot forward in a half pace; and
- continue marching in quick time, swinging the right arm forward and the left to the rear.
- The timing is:
- Count: Check – LEFT – RIGHT – LEFT
- Foot: RIGHT – LEFT – RIGHT – LEFT
- On the command SQUAD – HALT given as the left foot is on the ground, squad members shall:
- take a further mark time pace with the right foot;
- take a further mark time pace with the left foot; and
- straighten the right leg in double time and assume the position of attention.
- The timing for the halt is counted “one, one-two”.
- To mark time from the halt the command shall be, QUICK MARK – TIME.
WHEELS
- As illustrated in Figure 3-9, on the command RIGHT (LEFT) – WHEEL, the leading file of threes wheels around one quarter of the circumference of a circle having a radius of 1.25 m, changing direction by 90 degrees.
- The inner rank shall step short, the center rank shall maintain the length of pace and the outside rank shall step out, without altering the cadence, to enable the file to wheel in line.
- Dressing is maintained by the inner flank while wheeling. The head will be kept to the front.
- When the leading file has wheeled 90 degrees, it shall march in the new direction, resuming the normal pace. On completion of the wheel, the directing flank shall be confirmed or indicated by order, BY THE RIGHT (LEFT), normally maintaining the directing flank noted in paragraph 11.
- The remaining files shall follow the lead file, wheeling at exactly the same point.
- If the squad is ordered to halt or mark time, and only part of the squad has completed the wheel, the squad shall remain in this position unless the command REAR FILES – COVER is ordered. On the command REAR FILES – COVER, by taking short quick paces with the left foot first, the files at the rear cover off the files that are facing the new direction.
- When it is desired to wheel less than an angle of 90 degrees, the command FOR – WARD is ordered when the leading file is facing the required direction.

Figure 3-9 Wheeling
CHANGE STEP ON THE MARCH

Figure 3-10 Change Step on the March in Quick Time
- In slow time, on the command CHANGE STEP BY NUMBERS, SQUAD – ONE given as the right foot is forward and on the ground, squad members shall:
- complete a half pace with the left foot;
- force the weight forward on the left foot; and
- raise the right heel off the ground.
- On the command SQUAD – TWO, squad members shall:
- bring the right foot forward in quick time by bending the right knee;
- straighten the right leg in quick time and place the right foot smartly beside the left; and
- as the right foot strikes the ground, shoot the left foot forward in a half pace just above the ground with the toe pointed down as in slow time.
- On the command SQUAD – THREE, squad members shall complete the glide pace with the left foot and carry on slow marching.
- On the command CHANGE – STEP, the three movements are combined. The timing is counted as “left, right, left” in quick time, thus maintaining slow march cadence while changing the step.
- In quick time (Figure 3-10), on the command CHANGE STEP BY NUMBERS SQUAD – ONE given as the right foot is forward and on the ground, squad members shall:
- complete a half pace with the left foot;
- swing the right arm forward;
- swing the left arm to the rear;
- force the weight forward on the left foot; and
- raise the right heel off the ground.
- On the command SQUAD – TWO, squad members shall:
- cut the arms to the side as in the position of attention;
- bring the right foot forward in double time by bending the right knee;
- straighten the right leg in double time and place the right foot smartly beside the left; and
- as the right foot strikes the ground, shoot the left foot forward in a half pace, landing on the heel with the toe up.
- On the command SQUAD – THREE, squad members shall:
- swing the right arm forward;
- swing the left arm to the rear; and
- continue marching in quick time.
- On the command CHANGE – STEP, the three movements are combined. The timing is counted, as “left, right, left” in double time, thus maintaining quick mark cadence.
CHANGE STEP WHEN MARKING TIME
- In slow time or quick time, on the command CHANGE – STEP given as the right foot is on the ground, squad members shall:
- take two successive mark time paces with the left foot; and
- continue marking time.
- The timing is counted as “left, left-right” in the same cadence as marking time.
FORM HOLLOW SQUARE
- The squad shall be in line in three ranks prior to forming hollow square (Figure 3-11).
- On the command FORM HOLLOW SQUARE, CENTRE RANK RIGHT, REAR RANK LEFT – TURN, the squad acts as ordered.
- On the command CENTRE RANK LEFT WHEEL, REAR RANK RIGHT WHEEL, QUICK – MARCH, the squad acts as ordered.
- The command MARK – TIME shall be given when the rear individuals of the centre and rear ranks are one pace in front of the front rank.
- On the command SQUAD – HALT, the squad acts as ordered.
- On the command CENTRE RANK LEFT, REAR RANK RIGHT – TURN, the squad acts as ordered.
- The reverse procedure is used to reform the squad into three ranks.

Figure 3-11 Forming Hollow Square
SALUTE ON THE MARCH WITHOUT ARMS

Figure 3-12 Saluting on the March without Arms
- The movements of the salute to the front and to a flank shall be executed as described in Chapter 2, paragraphs 36 to 43.
- When a service member salutes on the march, he shall commence the drill movement five paces before reaching an officer, look directly into the officer’s eyes by turning his head in the required direction on the commencement of the salute, and complete the salute one pace beyond him. This permits the officer to return the salute before the member has passed (Figure 3-12).
- On the command TO THE RIGHT (LEFT) SALUTE BY NUMBERS, SQUAD – ONE given as the left foot is forward and on the ground, squad members shall:
- complete the next pace with the right foot; and
- swing the left arm forward and the right arm to the rear normally.
- On the command SQUAD – TWO, squad members shall:
- complete the next pace with the left foot;
- cut the left arm to the side; and
- cut the right arm forward to the side and then up into the salute in one continuous movement. While saluting, the head is turned right (left) as far as possible without straining as appropriate.
- On the command SQUAD – THREE, squad members shall complete four paces in quick time, ending with the left foot forward.
- On the command SQUAD – FOUR, squad members shall:
- complete a pace with the right foot; and
- cut the right arm to the side.
- On the command SQUAD – FIVE, squad members shall continue marching.
- On the command TO THE RIGHT (LEFT) –SALUTE, the movements are combined.
- The timing for the salute is counted as follows:
- Count: CHECK – UP – TWO – THREE – FOUR – FIVE – DOWN – SWING
- Foot: RIGHT – LEFT – RIGHT – LEFT – RIGHT – LEFT – RIGHT – LEFT
- When teaching by numbers, on all commands the weight of the body is on the forward foot with the rear heel off the ground; however on the command SQUAD – TWO, the weight is on the rear foot with the toe up. The squad shall call the time in accordance with paragraph 88.
PAYING UNIT COMPLIMENTS WITH A SQUAD ON THE MARCH

Figure 3-13 Eyes Right on the March without Arms
- As illustrated in Figure 3-13, on the command EYES – RIGHT (LEFT), given as the left foot is forward and on the ground:
- squad members shall complete the next pace forward with the right foot and, as the left foot comes forward again and strikes the ground, turn the head and eyes to the right (left) as far as possible without straining and look directly into the eyes of the personage being saluted;
- squad members shall continue swinging arms;
- the leading person on the directing flank shall maintain head and eyes to the front to keep direction; and
- the person in command of the squad salutes.
- On the command EYES – FRONT given as the left foot is forward and on the ground:
- squad members shall complete the next pace forward with the right foot and, as the left foot comes forward again and strikes the ground, cut the head and eyes smartly to the front; and
- the person in command of the squad completes the salute on the right foot by checking his arms to his sides and commences to swing his arms on the following pace with the left foot.
TURNS AND INCLINES ON THE MARCH IN SLOW TIME

Figure 3-14 Turns in Slow Time
- Turns and inclines on the march are executed to change direction (see Figure 3-14).
- On the command LEFT TURN BY NUMBERS, SQUAD – ONE given as the right foot is forward and on the ground, squad members shall complete a half pace with the left foot and freeze.
- On the command SQUAD – TWO, squad members shall:
- bend the right knee so the upper leg is parallel to the ground;
- using the momentum of the knee, force the shoulders 90 degrees to the left to face the new direction, while simultaneously pivoting on the ball of the left foot 90 degrees to the left;
- straighten the right leg as in the position of attention;
- immediately shoot the left foot forward in a half pace with the toe just clear of the ground;
- keep the body and head held up; and
- keep the arms, body and head steady.
- On the command SQUAD – THREE, squad members shall complete the half pace with the left foot and continue marching.
- On the command LEFT – TURN, the three movements are combined into one continuous movement and the cadence is maintained.
- The timing is:
- Count: CHECK – PIVOT – LEFT – RIGHT – LEFT
- Foot: LEFT – RIGHT – LEFT – RIGHT – LEFT
- On the command LEFT IN – CLINE, the drill described for turning to the left is followed except that the turn is made through 45 degrees.
- On the command RIGHT TURN BY NUMBERS, SQUAD – ONE given as the left foot is forward and on the ground, squad members shall complete a half pace with the right foot.
- On the command SQUAD – TWO, squad members shall:
- bend the left knee so the upper leg is parallel to the ground;
- using the momentum of the knee, force the shoulders 90 degrees to the right to face the new direction, while simultaneously pivoting on the ball of the right foot 90 degrees to the right;
- straighten the left leg as in the position of attention;
- immediately shoot the right foot forward in a half pace with the toe just clear of the ground;
- keep the body and head held up; and
- keep the arms, body, and head steady.
- On the command SQUAD – THREE, squad members shall complete the half pace with the right foot and continue marching.
- On the command RIGHT – TURN, the three movements are combined into one continuous movement and the cadence is maintained.
- The timing is:
- Count: CHECK – PIVOT – RIGHT – LEFT – RIGHT
- Feet: RIGHT – LEFT – RIGHT – LEFT – RIGHT
- On the command RIGHT IN – CLINE, the drill described for turning to the right is followed except that the turn is made through 45 degrees.
TURNS AND INCLINES ON THE MARCH IN QUICK TIME

Figure 3-15 Turns in Quick Time
- Turns and inclines on the march are executed to change direction (see Figure 3-15).
- On the command LEFT TURN BY NUMBERS, SQUAD – ONE, given as the right foot is forward and on the ground, squad members shall complete a half pace with the left foot with the right arm swung forward and the left to the rear.
- On the command SQUAD – TWO, squad members shall:
- cut the arms to the side as in the position of attention;
- bend the right knee;
- using the momentum of the knee, force the shoulders 90 degrees to the left to face the new direction, while simultaneously pivoting on the ball of the left foot 90 degrees to the left;
- straighten the right leg as in the position of attention;
- immediately shoot the left foot forward in a half pace with the toe just clear of the ground;
- keep the body and head held up; and
- keep the arms, body and head steady.
- On the command SQUAD – THREE, squad members shall complete the half pace with the left foot and continue marching (swinging the arms).
- On the command LEFT – TURN, the three movements are combined into one continuous movement and the cadence is maintained.
- The timing is:
- Count: CHECK – PIVOT – LEFT – RIGHT – LEFT
- Feet: LEFT – RIGHT – LEFT – RIGHT – LEFT
- On the command LEFT IN – CLINE, the drill described for turning to the left is followed except that the turn is made to 45 degrees.
- On the command RIGHT TURN BY NUMBERS, SQUAD – ONE given as the left foot is forward and on the ground, squad members shall complete a half pace with the right foot, swing the left arm forward and the right to the rear.
- On the command SQUAD – TWO, squad members shall:
- cut the arms to the side as in the position of attention;
- bend the left knee;
- using the momentum of the knee, force the shoulders 90 degrees to the right to face the new direction, while simultaneously pivoting on the ball of the right foot 90 degrees to the right;
- straighten the left leg as in the position of attention;
- immediately shoot the right foot forward in a half pace with the toe just clear of the ground;
- keep the body and head held up; and
- keep the arms, body and head steady.
- On the command SQUAD – THREE, squad members shall complete the half pace with the right foot and continue marching.
- On the command RIGHT – TURN, the three movements are combined into one continuous movement and the cadence is maintained.
- The timing is counted as:
- Count: CHECK – PIVOT – RIGHT – LEFT – RIGHT
- Feet: RIGHT – LEFT – RIGHT – LEFT – RIGHT
- On the command RIGHT IN – CLINE, the drill described for turning to the right is followed, except that the turn is made to 45 degrees.
ABOUT TURN ON THE MARCH IN SLOW TIME

Figure 3-16 About Turn in Slow Time
- On the command ABOUT TURN BY NUMBERS, SQUAD – ONE given as the right foot is forward and on the ground (Figure 3-16), squad members shall:
- take a half pace with the left foot placing the foot flat on the ground naturally;
- bring the right foot in to the left, in a straight-leg manner without scraping the ground, to the position of attention;
- maintain the same cadence; and
- keep the arms to the side.
- On the command SQUAD – TWO, squad members shall:
- maintain the arms at the sides;
- pivot on the ball of the right foot to force the body through a turn of 90 degrees to the right;
- simultaneously, bend the left knee so that the thigh is parallel to the ground; and
- lower the leg smartly to the ground to assume the position of attention.
- On the command SQUAD – THREE, squad members shall:
- maintain the arms at the sides;
- pivot on the ball of the left foot to force the body through a turn of 90 degrees to the right;
- simultaneously, bend the right knee so that the thigh is parallel to the ground; and
- lower the leg smartly to the ground to assume the position of attention.
- On the command SQUAD – FOUR, squad members shall step off in slow time with a half pace with the left foot in the new direction.
- On the command ABOUT – TURN, the four movements are combined and the cadence is maintained.
- The timing is:
- Count: LEFT – IN – LEFT – RIGHT – LEFT
- Feet: LEFT – RIGHT – LEFT – RIGHT – LEFT
ABOUT TURN ON THE MARCH IN QUICK TIME

Figure 3-17 About Turn in Quick Time
- On the command ABOUT TURN BY NUMBERS, SQUAD – ONE given as the right foot is forward and on the ground (Figure 3-17), squad members shall:
- take a half pace with the left foot, placing the foot flat on the ground naturally;
- bring the right foot in to the left, in a straight-leg manner above the ground, to the position of attention;
- simultaneously, cut the right arm down and the left in from the rear as the right foot comes in; and
- maintain the cadence.
- On the command SQUAD – TWO, squad members shall:
- maintain the arms at the sides;
- pivot on the ball of the right foot to force the body through a turn of 90 degrees to the right;
- simultaneously, bend the left knee; and
- lower the leg smartly to the ground to assume the position of attention.
- On the command SQUAD – THREE, squad members shall:
- maintain the arms at the sides;
- pivot on the ball of the left foot to force the body through a turn of 90 degrees to the right;
- simultaneously, bend the right knee; and
- lower the leg smartly to the ground to assume the position of attention.
- On the command SQUAD – FOUR, squad members shall step off in quick time with a half pace with the left foot in the new direction.
- On the command ABOUT – TURN, the four movements are combined and the cadence is maintained.
- The timing is:
- Count: LEFT – IN – LEFT – RIGHT – LEFT
- Feet: LEFT – RIGHT – LEFT – RIGHT – LEFT
- When a blank file of one person exists in a squad which is in line, the person shall commence to step short on the cautionary word of command RETIRE (ADVANCE), and execute the about turn with the new leading rank on the executive word TURN.
CHANGE TO QUICK TIME FROM SLOW TIME
- On the command CHANGE TO QUICK TIME, QUICK – MARCH given as the right foot is forward and on the ground, squad members shall step forward with the left foot in quick time, swinging the right arm forward and the left arm to the rear.
CHANGE TO DOUBLE TIME FROM QUICK TIME
- On the command CHANGE TO DOUBLE TIME, DOUBLE – MARCH given as the right foot is forward and on the ground, squad members shall step forward with the left foot in double time and with the arms in the position for marching in double time.
CHANGE TO QUICK TIME FROM DOUBLE TIME
- On the command CHANGE TO QUICK TIME, QUICK – MARCH given as the right foot is forward and on the ground, squad members shall shorten the pace to the standard quick march length while completing four more paces in double time and then break into quick time.
CHANGE TO SLOW TIME FROM QUICK TIME
- On the command CHANGE TO SLOW TIME, SLOW MARCH BY NUMBERS, SQUAD – ONE given as the right foot is forward and on the ground, squad members shall complete a half pace with the left foot, with the right arm swung forward and the left arm to the rear.
- On the command SQUAD – TWO, squad members shall cut the arms to the sides as in the position of attention. The right foot is brought forward in double time, the right knee is bent and the right foot placed smartly beside the left. As the right foot strikes the ground, the left foot is shot forward in a half pace just above the ground with the toe pointing down as in slow time.
- On the command SQUAD – THREE, squad members shall complete the half pace with the left foot and carry on marching in slow time.
- On the command CHANGE TO SLOW TIME, SLOW – MARCH, the three movements are combined. The timing is counted as “left, right, left” in double time.
CHANGE DIRECTION BY FORMING FROM THE HALT
- A form changes the direction faced by a squad in line, while maintaining its formation (see Figure 3-18).
- To change direction by forming from the halt to the halt, on the command AT THE HALT, CHANGE DIRECTION RIGHT, RIGHT – FORM:
- the leading person on the directing flank turns right;
- the remainder of the front rank makes a right incline; and
- the centre and rear rank stand fast.
- On the command QUICK – MARCH:
- the leading person of the directing flank marches forward five paces and halts; and
- the remainder of the squad steps off, wheeling as necessary to regain their original position to the left of the directing flank, with each successive file halting in succession from right to left, facing the new direction.
- To change direction by forming, from the halt to the mark time, on the command CHANGE – DIRECTION RIGHT, RIGHT – FORM:
- the leading person of the directing flank turns right;
- the remainder of the front rank makes a right incline; and
- the centre and rear rank stand fast.
- On the command QUICK – MARCH:
- the leading person of the directing flank marches forward five paces and begins marking time on the fifth pace; and
- the remainder of the squad steps off, wheeling as necessary to regain their original position to the left of the directing flank, with each successive file marking time, in succession from right to left, facing the new direction.
- On the command FOR – WARD or SQUAD – HALT, the squad acts as ordered.
- Changing direction by forming to the left is executed as outlined above, except for “right” read “left”.

Figure 3-18 Forming from the Halt
CHANGE DIRECTION BY FORMING ON THE MARCH
- On the command AT THE HALT, CHANGE DIRECTION RIGHT, RIGHT – FORM given as the left foot is forward and on the ground:
- the leading person on the directing flank turns right, takes six paces forward and halts;
- simultaneously, the remainder of the front rank makes a right incline and steps off toward the new position in line with the right marker; and
- the centre and rear ranks wheel right to follow the leading individual in each file. Each file, as it reaches its position on the left of the directing flank facing the new direction, shall halt together in succession from the right.
- On the command CHANGE DIRECTION RIGHT, RIGHT – FORM given as the left foot is forward and on the ground:
- the leading person of the directing flank turns right, takes five paces forward and marks time:
- simultaneously, the remainder of the front rank makes a right incline and marches toward its new position; and
- the centre and rear ranks wheel right, following the leading individual in each file. Each file, as it reaches its position on the left of the directing flank facing the new direction, shall mark time together in succession from the right.
- On the command FOR – WARD or SQUAD – HALT, the squad acts as ordered.
- Changing direction by forming to the left is executed as outlined above, except that the initial command is given as the right foot is forward and on the ground, and the movement is executed to the left.
- The number of paces moved forward in the new direction on a form is governed by the direction in which the form is to be made. Five paces shall be taken when the form is executed to the left and six paces when the form is made to the right on the march so that the last pace forward is taken with the left foot.
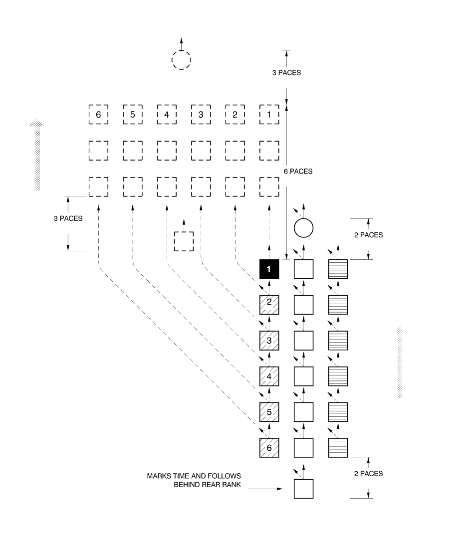
FORM SQUAD IN LINE FROM THE HALT
- The drill for forming a squad changes the formation of a squad marching in column (etc.) to that of line, while maintaining the squad’s direction (see Figure 3-19).
- To form a squad on its left, from the halt to the halt, on the command AT THE HALT, ON THE LEFT, FORM – SQUAD:
- the front left-hand person (the marker) stands fast; and
- the remainder of the squad makes a left incline.
- On the command QUICK – MARCH:
- the front left-hand person (the marker) marches forward five paces and halts; and
- the remainder of the squad steps off, wheeling as necessary, each file taking up its new position to the left of the leading file, facing the same direction and halting together in succession from right to left.
- To form a squad on its left from the halt to the mark time, on the command ON THE LEFT, FORM – SQUAD:
- the front left-hand person (the marker) stands fast; and
- the remainder of the squad makes a left incline.
- On the command QUICK – MARCH:
- the front left-hand person (the marker) marches forward five paces and commences marking time; and
- the remainder of the squad steps off, wheeling as necessary, each file taking up its new position to the left of the leading file, facing the same direction and marking time together in succession from right to left.
- On the command FOR – WARD or SQUAD – HALT, the squad acts as ordered.
FORM SQUAD IN LINE ON THE MARCH
- On the command AT THE HALT, ON THE LEFT, FORM – SQUAD given as the right foot is forward and on the ground:
- the front left-hand person (the marker) continues to move forward five paces and halts; and
- the remainder of the squad executes a left incline, wheels to its position to the left of the leading file, each file halting together in succession from right to left.
- On the command ON THE LEFT, FORM – SQUAD given as the right foot is forward and on the ground:
- the front left-hand person (the marker) continues to move forward five paces and marks time; and
- the remainder of the squad executes a left incline, wheels to its position to the left of the leading file, each file beginning to mark time together, in succession from right to left.
- On the command FOR – WARD or SQUAD – HALT, the squad acts as ordered.

Figure 3-19 Forming Squad from the Halt
SQUAD IN THREES FORMING SINGLE FILE FROM THE HALT

Figure 3-20 Squad in Threes Forming Single File
- On the command SINGLE FILE FROM THE LEFT (RIGHT), QUICK – MARCH:
- the directing flank marches off in single file in quick time (Figure 3-20); and
- the remainder mark time. The leading person of the centre and non-directing flank execute a left (right) incline and lead off in single file when the file on their left (right) is clear.
SQUAD IN THREES FORMING SINGLE FILE ON THE MARCH
- On the command SINGLE FILE FROM THE LEFT (RIGHT), REMAINDER MARK – TIME given as the right foot is forward and on the ground:
- the directing flank continues marching forward;
- the remainder mark time; and
- the leading person of the centre and non-directing flank execute a left (right) incline and lead off in single file when the file on their left (right) is clear.
SQUAD IN SINGLE FILE REFORMING THREES FROM THE HALT
- On the command ON THE RIGHT (LEFT) REFORM THREES, REMAINDER QUICK – MARCH:
- the rank leading the single file stands fast; and
- the remainder step off, reform three ranks and halt.
SQUAD IN SINGLE FILE REFORMING THREES ON THE MARCH
- On the command ON THE RIGHT (LEFT), REFORM THREES, FRONT RANK MARK – TIME given as the right foot is forward and on the ground:
- the front rank marks time; and
- the remainder reform threes and mark time.
- On the command FOR – WARD or SQUAD – HALT, the squad acts as ordered.
SQUAD IN LINE FORMING SINGLE FILE FROM THE HALT

Figure 3-21 Squad in Line Forming Single File
- On the command SINGLE FILE FROM THE RIGHT (LEFT), QUICK – MARCH:
- the file on the directing flank marches forward in single file in quick time (Figure 3-21); and
- the remainder mark time, lead off and wheel in single file following the file on their right (left).
SQUAD IN LINE FORMING SINGLE FILE ON THE MARCH
- On the command SINGLE FILE FROM THE RIGHT (LEFT), REMAINDER MARK – TIME given as the right foot is forward and on the ground:
- the file on the directing flank continues marching forward; and
- the remainder mark time and then lead off in single file, stepping off with the left foot, when the file on their right (left) is clear.
SQUAD IN SINGLE FILE REFORMING LINE FROM THE HALT

Figure 3-22 Squad in Single File Reforming Line from the Halt
- On the command ON THE LEFT (RIGHT), REFORM LINE, REMAINDER QUICK – MARCH:
- the leading file stands fast (Figure 3-22); and
- the remainder step off, reform line and halt.
SQUAD IN SINGLE FILE REFORMING LINE ON THE MARCH
- On the command ON THE LEFT (RIGHT), REFORM LINE, LEADING FILE MARK – TIME given as the right foot is forward and on the ground:
- the leading file marks time; and
- the remainder reform line and mark time.
- On the command FOR – WARD or SQUAD – HALT, the squad acts as ordered.
OPEN ORDER ON THE MARCH IN SLOW TIME
- On the command OPEN – ORDER given as the right foot is forward and on the ground, squad members shall act as follows:
- when in two ranks:
- the front rank continues marching forward, and
- the rear rank marks time for two paces and then steps off with the left foot; and
- when in three ranks:
- the front rank continues marching forward,
- the centre rank marks time for two paces, and
- the rear rank marks time for four paces.
- when in two ranks:
CLOSE ORDER ON THE MARCH IN SLOW TIME
- On the command CLOSE – ORDER given as the right foot is forward and on the ground, squad members shall act as follows:
- when in two ranks:
- the front rank marks time for two paces and then steps off with the left foot, and
- the rear rank continues marching forward.
- when in three ranks:
- the front rank mark time for four paces,
- the centre rank mark time for two paces, and
- the rear rank continues marching forward.
- when in two ranks: